Apple Ring potrà controllare tutti i dispositivi nelle vicinanze

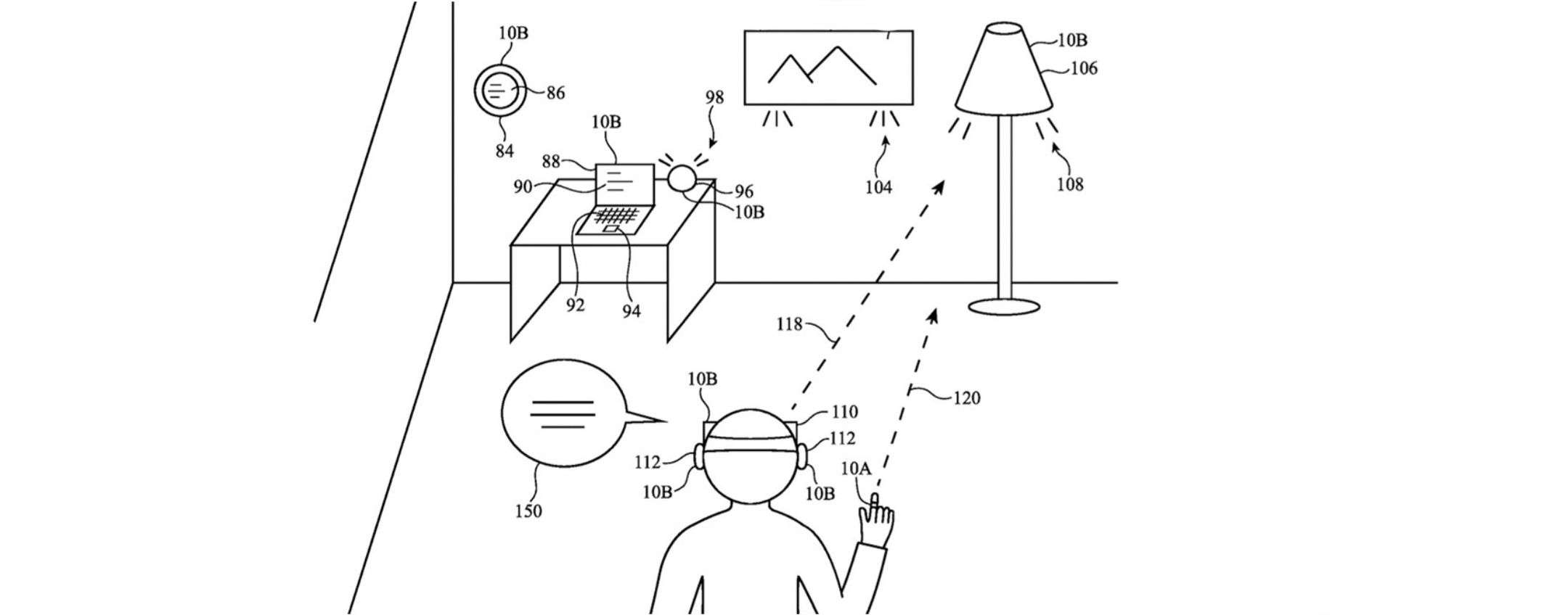
Apple starebbe esplorando la possibilità che il suo futuro anello smart, l'Apple Ring, controlli ogni dispositivo nelle vicinanze. The post Apple Ring potrà controllare tutti i dispositivi nelle vicinanze appeared first on Punto Informatico.

Agosto 23, 2024 - 07:02
 0  2
Apple Ring potrà controllare tutti i dispositivi nelle vicinanze
Apple starebbe esplorando la possibilità che il suo futuro anello smart, l'Apple Ring, controlli ogni dispositivo nelle vicinanze. The post Apple Ring potrà controllare tutti i dispositivi nelle vicinanze appeared first on Punto Informatico.
Punto Informatico Tutto si trasforma: l'innovazione, ogni giorno

Questo sito utilizza i cookie. Continuando a navigare nel sito accetterai l'uso dei cookie.